Yıllardır, Mazda'nın Wankel motoru geri getirerek RX-7 ve RX-8'in halefi olarak yeni bir spor otomobil tanıtacağına dair söylentiler duyuyoruz. Ancak şimdiye kadar Japon üreticiden maalesef böyle bir girişim göremedik. Ancak yakın zamanda işler değişecek gibi görünüyor.
Wankel motor efsanesi geri dönmeye hazırlanıyor
Aslında geçtiğimiz yılllarda Mazda, Wankel motoru (Rotary motor) tekrar kullanmaya başladı. Ancak MX-30 modelinde sadece bir menzil artırıcı olarak çalışan bu motor tabi ki beklediğimiz şey değildi. Japon üreticinin yeni aldığı patent ise otomobilseverleri heyecanlandıracak.

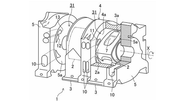
Mazda'nın Japon Patent Ofisi'ne tamamen yeni bir çift rotorlu Wankel motorla ilgili altı patent başvurusunda bulunduğu ortaya çıktı. MX-30'da kullanılan tek rotorlu motorun aksine, bu iki rotorlu tasarım, menzil genişletici olarak hizmet etmek yerine bir arabaya güç sağlamak için tasarlanmış gibi görünüyor.
Mercedes-Benz'in efsane otomobili geri döndü!
Bu yeni motorun kullanılacağı araç hakkında ise henüz bir bilgi yok. Ancak Japon üreticinin daha önce tanıttığı RX-Vision konsepti bu motor için oldukça uygun bir ev sahbi olabilir. Rotary motorlu bir spor otomobilin pazarda yaratacağı etki çok büyük olabilir.
Bu durum sadece bir beklenti olmak ile birlikte Mazda'nın böyle bir patent başvurusu yapmasının başka bir nedeni olmadığını düşünüyoruz. Sonuçta çift rotorlu bir Wankel motor, bir menzil artırıcıdan çok daha fazla güç sağlar ve bu motorun tek başına bir araçta kullanılması çok daha olası görünüyor.

Bunun yanı sıra, bu araca eklenecek ve araç hareket ederken destek olabilecek bir elektrikli ünite, Mazda'nın yeni spor otomobilinde yakıt tüketimini önemli oranda azaltabilir. Japon üreticinin aldığı patentler de Wankel motorun verimliliğini artırma yönünde. Mazda böylelikle 100 kilometrede yakıt tüketimi 20 litreleri bulabilen Rotary motoru çok daha verimli bir hale getirebilir.
Çok daha verimli bir hale gelmesi ile birlikte Rotary motoru önümüzdeki dönemde bazı Mazda modellerinde görebiliriz. Peki siz Wankel motor ve olası bir RX-9 modeli hakkında ne düşünüyorsunuz? Görüşlerinizi yorumlar kısmında bizimle paylaşabilirsiniz.
Son Dakika › Otomobil › Mazda, Çift Rotorlu Wankel Motoru İçin Patent Başvurusunda Bulundu - Son Dakika
Masaüstü bildirimlerimize izin vererek en son haberleri, analizleri ve derinlemesine içerikleri hemen öğrenin.